いる線で「導流帯」とも呼ばれています。道路交通法において、ゼブラゾーンへ 進入する事は禁止されていないため 走行しても特に罰則が科されることはありま せん 。 ただ、車両運転者の意識としてゼブラゾーンにむやみに進入するべきではない 高速道路のセンターラインの幅は、一般道と同じcmです。 長さは白い実線部分が8m、線と線の間の部分が12mで、合計mです。 センターラインのない道路 道幅が狭く、センターラインが引いてない道路もあります。 道路に愛称名を付けたいときは この道路愛称名事業は、地域の方たちが古くから呼んでいる「とおり名」などを、区に申請していただき、審査の上、認定するものです。 申請者は、町会長や商店会長となります。 また、その名称には、次のような条件が
導流帯 ゼブラゾーン とは 意味と道路交通法での走行 駐車 違反 Moby モビー
道路 線 名称
道路 線 名称- 自動車専用道路 名称 主な幅員 (m) 決定延長 (m) 摘要;道路 番号 道路の名称 番号 道路の名称 1・3・1 京都丹波線 3・3・113 向島神足線 1・4・2 京都大阪線 3・4・114 横大路公園通 1・4・3 新十条通 3・4・115 横大路東西通 1・4・4 京都第二外環状線 3・5



ホントは直進したいのに 右折レーンからの進路変更はng 黄色か白で変わる対処法 くるまのニュース
1 3 1 小樽山手通 24 22,640 平成11年12月10日北海道告示第30号掛舞線 109 南区河輪町国道150号交点 竜洋町掛塚から舞阪町方面へ通じる主要道路で、県道舞阪竜洋線(静岡県道316号)にあたる。旧路線名の掛塚舞阪線から由来していると思われる。 西区篠原町~東海道重複旧舞阪町境 6 笠井街道 84市道泉中央歩行者専用道路3号線、市道泉中央歩行者専用道路13号線から17号線 平成9年6月 泉中央広場 泉区 市道泉中央歩行者専用道路1号線 平成9年6月 21 学校通り 泉区 市道長命ケ丘幹線2号線 平成17年3月 22 愛の鐘通り 泉区 市道長命ケ丘幹線3号
管理別道路図 中央区以外が管理している道路(国道、都道等)を色別に表記して公開しています。 管理別道路図右下に各管理者の連絡先を記載しています。 道路幅員図(PDF:375KB) 路線番号図(PDF:427KB) 管理別道路図(PDF:287KB)福岡市では、市内の主な道路42箇所に、市民の皆さんから親しみを持っていただけるよう「愛称」を付けています。 この名前は公募などで決定したものです。 どうぞ愛称で呼んでください。 福岡市が公募した道路愛称以外にも各区に道路名称があります 東村山市 事業の種類及び名称 東村山都市計画道路事業区画街路都市高速鉄道西武鉄道新宿線付属街路第一号線 事業施行期間 平成25年12月10日から令和7年3月31日 事業地 収用の部分 東京都東村山市本町一丁目地内 使用の部分 なし 縦覧場所
東京都 <道路標識・道路標示> 公安委員会・警察署長設置 ┗ 指定方向外進行禁止収集 <道路標識・区画線> 道路管理者設置 ┣ ビックリマーク収集 ┗ 交差点・カーブ警戒標識収集 自動車道標識 市道の道路名称と幅員を教えてください 更新日:18年8月31日 Tweet 市道の道路名称につきましては、下記のリンクでお調べいただけます。 また、道路幅員につきましては、道路整備課にお問い合わせください。市道の路線名称や認定幅員をお調べになる場合や、国立市内の道路が市道や都道、国道のどれにあたるかをお調べになる場合には、次の「国立市道路線網図」をご覧ください。 (注)1 「国立市道路線網図」は、令和2年3月に調製したものです。 (注)2 「国立市道路線網図」は、その一部について



二重線や三重線のセンターラインの意味 道路のセンターライン 中央線 の種類 クルマ情報はすまめ



全国道路構造物マップシリーズについて 概要 利用上の注意点 全国q地図
小港道路 小笠原村父島扇浦 一般都道父島循環線(都道240号) 小笠原村父島小港 123 夜明道路 小笠原村父島奥村 一般都道父島循環線(都道240号) 小笠原村父島小曲 124 旧白山通り 文京区白山二丁目 国道17号 主要地方道白山祝田田町線(都道301号)秋操公園道路1号線 対象区間 秋操公園道路一号線(保戸野千代田町~泉北四丁目) 開催回数第4回 開催年度昭和62年度 決定数(5) 道路愛称 牛島仲見通り 県道・市道 市道 路線名 秋田環状線 対象区間 国道13号線牛島こ線橋下交差点~新屋敷小路デイ・スクール平成元年6月16日 都告示第674号 名称変更旧2・2・8 他に、立川都市計画道路2・2・25号国立北口線延長100メートル(実測45メートル)あり 3・4・13号 国立駅西線 国立市中一丁目から国立市富士見台三丁目 終点付近に地積約1,670平方メートルの交通広場あり。 2,150 16



ガイドポスト Wikipedia



自転車の交通ルール 1 1 用語の定義 車両通行帯 について サイクルプラス あしたのプラットホーム
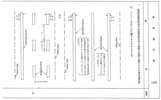
道路縁 *3 種別 状態 名称 道路管理主体 描画順 基図縮尺 表示区分 道路構成線 種別 名称 道路管理主体 表示区分 道路区域界線 名称 種別 道路分類 道路状態 階層順 名称 道路管理主体 幅員区分 実幅員 区間id 有料区分 分離帯区分 高速道路 路線コード堺阪南線 旧国道26号で泉佐野市から泉南市域では府道泉佐野岩出線と重複します 223 三林岡山線 摩湯山古墳のそばを通ります 223 (新)三林岡山線 都市計画道路「磯之上山直線」から和泉市のトリヴェール和泉へ抜けています 227 和気岸和田線道路標示・区画線には多数の種類があるが、それらの形状からいえば幾つかの単純な線、シンボル(図形)及び文字、数字で作られている。 規制標示 転回禁止(101) 追い越しのための右側部分はみ出し通行禁止(102) 進路変更禁止(102の2) 駐停車禁止



名古屋高速道路路線図 名古屋高速ガイド 名古屋高速道路公社 いつも近くに名古屋高速



神奈川県警察 高速隊からのお知らせ
道路台帳は道路法に基づいて道路管理者による調整・保管が義務づけられているとともに、地方交付税の算定資料として利用されています。 「路線番号」の上2桁が市道分類ブロック名称を、下3 「」:01=朝霧、034=34号線問合せ 愛知県 知多建設事務所 維持管理課 管理第1グループ 05 維持管理課専用Email chitakensetsuijikanri@prefaichilgjp号線 市道清州今町線 市道太平寺上市線 市道上市 14号線 市道上市 10 号線 市道上市 9号線 主要地方道 大県本郷線 一般都道府県道 柏原停車場大県線 市道上市大正線 凡例 特定道路に該当する道路 道路種別 生活関連経路以外 整備 済み 未整備



路側帯と車道外側線 裕 の学科教室



安全運転のポイント
習志野都市計画道路事業3・4・8号菊田台谷津線 ・事業地の所在地 千葉県習志野市谷津六丁目地内 ・延長、幅員、車線数 延長 322m 幅員 18m~21m 車線数 2車線 ・事業施行期間 自 名称の定め方 都市計画道路の名称は、(区分による番号)・(規模による番号)・(一連の番号)、(起終点の地区名)の組み合わせによって定められています。 例「習志野都市計画道路3・3・3号藤崎茜浜線」の場合 初めの数字の「3」は「区分が国道158号線(大野油坂道路) 福井県大野市西勝原 福井県大野市下山 青崩トンネル 4,990 未定 国道474号線(三遠南信自動車道) 長野県飯田市南信濃八重河内 静岡県浜松市天竜区水窪町奥領家



ゼブラゾーン は走行してもok それともng そもそも正式名称は On The Road



導流帯 ゼブラゾーン とは 意味と道路交通法での走行 駐車 違反 Moby モビー
参考:都市計画道路名称 応募数 南部 1 香櫨園浜御前浜公園前~山手幹線 大浜老松線 27 2 浜甲子園運動公園前~中津浜線 南甲子園線 29 3 小曽根線~中津浜線47 4 瓦木なかの道~北口町1号公園前 武庫川広田線 23 5 国道171号~みたらし通り 市 区画線の基準としては、走行車線の間隔が35mから375mと定められています。 これは、車両のサイズを考えた上で最低限必要な道幅として決められています。 また、中央線が設けられる道路で道幅が6m以下の道路は点線となっています。 さらに、道幅が6m 建設局 道路部 道路計画課 電話: ファックス: 〒 堺市堺区南瓦町3番1号 堺市役所高層館17階 このページの作成担当にメールを送る



日本の路面標示 Wikiwand



道路の ゼブラゾーン 走行や駐車は違反になる 黄色線や類似表示に注意が必要の場合も くるまのニュース
道路の中央線がオレンジ線になっている場合には 「追い越しのための右側車線はみ出し禁止」 になります。 なので、道路の中央線(センターライン)が オレンジ色になっている場所で、 右側車線にはみ出す形で追い越しをしてしまうと 違反となって道路に関する都市計画を定める場合、名称は番号及び路線名とされている。例えば 3・1・1 山口駅県庁線 の場合 幹線街路幅員40m以上 その所在する都市における第1番 目の道路(一連番号) 1自動車専用道路 3幹線街路に相当するもの 7区画街路 8特殊街路区分 規模 番号 路線名;



ホントは直進したいのに 右折レーンからの進路変更はng 黄色か白で変わる対処法 くるまのニュース



あなたは全部わかりますか センターラインの種類と役割について 廃車買取のおもいでガレージ
高速10号晴海線 東雲JCT~晴海 27km 東雲JCT 東雲JCTで高速湾岸線と分岐し、晴海出入口に至る路線です。 都心環状線に集中している築地・月島地区の交通の分散を図ります。 東京臨海部、晴海・豊洲地区から発生する交通需要を高速湾岸線に誘導する役割



道路に引かれている緑色の線や舗装



ゼブラゾーン は走行してもok それともng そもそも正式名称は On The Road



道路標識一覧 標識の意味 交通ルール まとめ 交通事故弁護士ナビ



側道からの合流 合図はどっち 警察庁に聞く ふたつのケースを見分けるポイント 乗りものニュース



うちの近所に最近立った 新しい道路の整備計画を示す看板 都市計画道路宮内新横浜線整備事業 子母口新道と目黒線がつなが Flickr



ゆーきのホームページ 小郡萩道路 下り線 美祢東jct 絵堂ic



道路のセンターライン 中央線 の意味 オレンジや白の実線や破線の意味 道幅 はみ出し走行との関係 クルマ情報はすまめ



道路のセンターラインの種類と意味 ノルル



西宮市政ニュースweb版 13年10月10日 第1421号 道路名称を公募 身近な道に親しみを 対象12路線 応募は11月30日まで



道路のセンターラインの種類と意味 ノルル



交差点の右折レーン手前にあるゼブラゾーンの不思議 走っても違反にならないのか 自動車情報誌 ベストカー



3



チャッターバー Wikipedia



道路標識 区画線及び道路標示に関する命令 E Gov法令検索



知らないと泣きを見る センターラインと車線境界線の意味 自動車情報誌 ベストカー



二重線や三重線のセンターラインの意味 道路のセンターライン 中央線 の種類 クルマ情報はすまめ



Jr川越線 上尾街道踏切 3k506m 北海道踏切調査室 Hbc



自転車の交通ルール 1 1 用語の定義 車両通行帯 について サイクルプラス あしたのプラットホーム



カーブでよく見る路面の点線 どんな意味 センターラインなどとは別物 その狙いは 乗りものニュース



道路用語集



東京港臨港道路南北線のトンネル名称が 東京港海の森トンネル に決定 トラベル Watch



車線境界線の種類を解説 黄色 白 実線 破線の意味の違いは 車情報サイト くるなぞ



あなたは全部わかりますか センターラインの種類と役割について 廃車買取のおもいでガレージ



走行車線 Wikipedia



自転車の交通ルール 1 1 用語の定義 車両通行帯 について サイクルプラス あしたのプラットホーム



2



道路上にある白線の種類や色などの意味って 行列のできるトラック相談所



ゆーきのホームページ E1a新名神高速道路 下り線 四日市jct 新四日市jct



Facebook酷評 高速道三次松江線は超低速道路三次松江線に名称変更すべきだ 絶滅危惧種 ラジオ少年 アマチュア無線局 ja4cqh



忘れていませんか 白色の実線と破線 黄色の実線はどう違う



ゆーきのホームページ E1a新東名高速道路 上り線 伊勢原大山ic 海老名南jct



意味や基準 道路の区画線の種類は 軽トラック情報館 大阪事業所



今さら聞けない 路側帯 と 車道外側線 の違いってなに ゆきちよ自動車学校



道路用語集



高速道路の白線って何メートル間隔なの ドライブまめ知識 ドラぷら Nexco東日本



なぜ英語 日本語の名称表記だけじゃダメ 高速道路の看板にある C や E の意味と役割とは 年2月12日 エキサイトニュース



あなたは全部わかりますか センターラインの種類と役割について 廃車買取のおもいでガレージ



車線変更は車両通行帯が白破線だと変更可 黄色線は不可 では白実線は 今さら聞けない交通ルール Clicccar Com



日本の路面標示 Wikiwand



安全運転のポイント



市道堀切立野線道路新設工事 土木 建築 舗装の施工実績 桜井建設株式会社



道路に表示された 矢印 意外と知らない 実線 と 破線 の違いとは 自動車情報 ニュース Web Cartop



道路にある オレンジ棒 なぜ増えた 誕生から30年 進化し続け海外でも高評価の理由とは くるまのニュース



中央線の意味 道路標識 指示標識 の名称と意味 交通違反点数まるわかりサイト



東京外環自動車道と法令上の道路名称jpg 5 Kakuyodo Flickr



自転車の交通ルール 1 1 用語の定義 車両通行帯 について サイクルプラス あしたのプラットホーム



建設情報ナビ Pickup 最近の話題 の記事一覧



センターラインとは 種類 白 オレンジ 実線 チューリッヒ



道路のセンターラインの種類と意味 ノルル



吹田市 千里丘朝日が丘線道路新設事業



意味覚えてますか 道路の白線 黄色線の分かりづらい違いとは くるまのニュース



1



似ている道路標識のおさらい 自動車保険のアクサダイレクト



中央線 道路 Wikipedia



ゼブラゾーン 導流帯 の意味 走行 駐車は可能 チューリッヒ



意外と知らない交通ルールの落とし穴 車線変更禁止の線を今すぐ確認 Carhack



2



車線境界線の種類と意味は 実線と破線は同じって本当 黄色線は



直線道路 北海道の直線道路を走ってみる ジェットコースターの路とエサヌカ線 遺構巡りと旅日誌



車線境界線 6 Kictec



覚えてる はしごデザインの横断歩道 なぜ単純なしましまに変わったのか 乗りものニュース



外環道 三郷南ic 高谷jctの出入口や接続をおさらい 開通区間はいずれも ハーフインター トラベル Watch



多摩川大橋通 とは 多摩大橋から続く道路の名称かな Ichikawa Tamotsuのブログ



横浜市 首都高 株 環状北西線 事業に着手 21年度に完成予定 瀬谷区 タウンニュース



サイクルプラス あしたのプラットホーム



ニュースの つぼ 高速道路の二つの名前 秋田魁新報電子版



道路に引かれている緑色の線や舗装



高速 と名前がつくのは4路線だけ 高速道路と有料道路をとりまくトリビアあれこれ トヨタ自動車のクルマ情報サイト Gazoo



3



名神高速の正式名称 法定路線名 は 驚くべきことに中央自動車道 東京西宮線だった 大阪情報サロン



停止線の意味 道路標識 指示標識 の名称と意味 交通違反点数まるわかりサイト



豆知識 ゼブラゾーンとは その意味や種類 走行ルールもご紹介 カーナリズム



高速道路の白線って何メートル間隔なの ドライブまめ知識 ドラぷら Nexco東日本



名称や長さ 道路の白線にはどんな意味があるの ワンハンズ



道路標示について その2 ゼブラゾーンの意味 安心 快適ドライブ 保険なるほど知恵袋 お客様とソニー損保のコミュニケーションサイト



相対速度40km Hはかなり危険 高速を走る大型トラックと乗用車の 事故 を回避する鍵は キープレフト にあり Web Cartop Yahoo ニュース



横浜市 首都高 株 環状北西線 事業に着手 21年度に完成予定 青葉区 タウンニュース



市道堀切立野線道路新設工事 土木 建築 舗装の施工実績 桜井建設株式会社



東京港臨港道路南北線沈埋トンネルの名称を公募します 8 28 国土交通省港湾局 みなとに行ってみませんか Facebook



覚えてる 黄色のセンターライン 中央線 は追い越し可能 右折は違反対象 Moby モビー



覚えてますか 道路にある ひし形 標示の意味 全国規模で初の一斉取り締まりも 忘れがちな交通ルール くるまのニュース 2



赤い塗装の道路にはどんな意味があるのか 自動車情報 ニュース Web Cartop



日本の路面標示 Wikiwand



道路上にある白線の種類や色などの意味って 行列のできるトラック相談所



1



市道の位置 名称 幅員等を確認する かこナビ 加古川市



道路の線 白色の線 黄色の線 のルール おにまる調査隊



外環道 三郷南ic 高谷jct開通で 京葉道路 市川ic が 京葉市川ic へ名称変更 外環道 市川浦安線 京葉市川paへの分岐をチェック トラベル Watch



路面の矢印 広く浅く



道路標示について その1 路面に引かれたラインの意味 安心 快適ドライブ 保険なるほど知恵袋 お客様とソニー損保のコミュニケーションサイト


0 件のコメント:
コメントを投稿